Trắc nghiệm ôn tập Kỹ thuật thủy khí - Đại học Điện lực EPU
Từ khoá: Kỹ thuật thủy khí trắc nghiệm kỹ thuật thủy khí Đại học Điện lực EPU ôn thi kỹ thuật thủy khí đề thi EPU tài liệu kỹ thuật thủy khí cơ kỹ thuật EPU
Số câu hỏi: 301 câuSố mã đề: 7 đềThời gian: 1 giờ
424,884 lượt xem 32,681 lượt làm bài
Van hình trụ có thể quay xung quanh trục nằm ngang. Trọng tâm của van nằm trên đường bán kính tạo thành góc theo phương ngang và cách trục quay một khoảng . Biết bán kính van cm, chiều rộng van cm. Xác định trọng lượng của van để van ở vị trí cân bằng như hình vẽ.

Ký hiệu sau là gì?

Chuyển động trong ống tròn nằm ngang có đường đo áp như hình vẽ. Giá trị 3m đo từ tâm ống biểu diễn:

Ký hiệu sau là gì?

Tâm ống dẫn đặt dưới đường phân giới giữa nước và thuỷ ngân chênh lệch chiều cao cột thuỷ ngân . Áp suất dư tại điểm A trong ống dẫn (at):

Ký hiệu sau là gì?

Cân một bình nước có diện tích đáy là , độ sâu nước là h1, cân đã cân bằng (hình trước). Nếu thả một quả cầu (có thể tích đáng kể) ngập vào bình nước, nhưng có tay người thả giữ lấy quả cầu (hình sau). Hỏi cân có cân bằng nữa không?

Cửa van ABC chắn nước có kích thước như hình vẽ. Van rộng 2m. Thành phần áp lực nằm ngang tác dụng lên van ABC:

Điều kiện nổi của vật (với là lực nâng của chất lỏng; G là trọng lượng của vật):

Qui luật phân bố áp suất dư tác dụng lên thành bình được biểu diễn theo hình:

Bình đựng nước được khoét 2 lỗ ở thành như hình vẽ. Tìm y2 sao cho

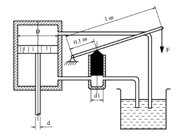
Pittông của máy ép có đường kính cần pittông có đường kính Pittông của bơm có đường kính mm. Kích thước cần ép là 0,1 m và 1 m. Để có lực ép là P = 10 T cần có áp suất của chất lỏng p và lực F bằng bao nhiêu?

Người ta muốn thiết kế một vòi phun nước lên cao 5m, với vận tốc ra khỏi vòi phun v = 9,9m/s. Đường kính của ống dẫn D = 15cm, của miệng vòi phun d = 3cm. Bỏ qua tổn thất và chênh lệch độ cao giữa vòi phun và ống dẫn. Áp suất dư của nước trong ống là (kPa):

Trên thành phẳng nghiêng của một bể chứa nước có một lỗ hình chữ nhật kích thước Nắp hình bán trụ đóng kín lỗ đó được giữ vào bể nhờ các buloong. Độ cao . Lực kéo P tác dụng lên các buloong bằng:

Biết lưu lượng nước chảy trong ống Q = 2,4m3/phút, đường kính ống d = 120mm; áp suất dư của nước trong ống pd = 1,8at. Bỏ qua lực ma sát và trọng lực. Lực do nước tác dụng lên đoạn ống cong nằm ngang nối hai đoạn ống vuông góc với nhau bằng:

Đây là kí hiệu của loại van đảo chiều nào?

Ghép các đường cong dưới đây cho phù hợp với loại chất lỏng:

2 mã đề 80 câu hỏi
2 mã đề 80 câu hỏi
7 mã đề 260 câu hỏi
1 mã đề 60 câu hỏi
1 mã đề 40 câu hỏi

